詳情介紹:
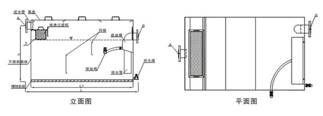
全自動隔油裝置(油水分離器)為“三級”高效油水分離裝置,由固液分離區、油水分離區、浮油收集裝置三部分組成,當廢水排水流入固液分離區時,大于 10mm 的固體顆粒經隔渣箱攔截后由無堵塞 泵經排渣口排除;小于 10mm 的顆粒及長纖維經切割、粉碎后沉淀于一級沉砂斗由放空管排出;隨水流流入油水分離區的細小顆粒或泥沙,在重力作用下沉淀于二級沉沙斗,由放空管排出。廢水進入油水分離區后,油水分離區內的溶氣氣浮裝置能產生大量細密、均勻的微氣泡,氣泡覆蓋整個流水斷面,且水面不出現旋流現象,廢水中的油脂被微氣泡帶至水面, 使不同比重的油水實現分流和分層,浮在水上面的油通過刮油機收集到集油桶里面。


機械隔油說明
設備特點
1、停留時間短,一般不大于 30min,產生臭氣少;
2、隔渣箱裝有安裝具有粉碎、切割固體物功能的無堵塞泵,可將廢水中的固體物自動分離 出來,減少后續堵塞。
3、設備帶有刮油機 ,可將菜渣、浮油、懸浮物、結塊動物油、皂化成豆花狀之油脂或硬塊, 有效排出。
4、具體規格可按客戶的需求訂制。
適用范圍
適用于賓館、飯店、酒樓、公共食堂和家庭廚房等含油污水處理。同樣也適用于油田、 石油化工、煉油、油品油脂生產;油庫及油碼頭,造船及修(拆)船業;海運和內河船舶航 業;冶金(鋼鐵)、機械(汽車、拖拉機)加工制造業;毛紡、制革、食品加工,肉聯(屠 宰)廠等工業中的各種含油污水的油水分離。












